Skip to main content

Image

  • L'eggs Sheer Energy

    Product: Sara Lee Hosiery L'Eggs Sheer Energy pantyhose
    Number of displays: 27,000
    P-O-P company: CB Displays, Winston-Salem, N.C.
    Distribution: Grocery and drug stores, mass merchandisers
    Introduction: November 1991
    Duration: Promotional
    Construction: Corrugated cardboard
    Retailers are already asking what animal will be next for Sheer Energy's black and white promotion, say L'Eggs officials.
    L'eggs Sheer Energy
  • Sesame Street Videos

    Product: Goldstar Video Corp. Educational video tapes
    Number of displays: 7,500-10,000
    P-O-P company: Corr Pak, Chicago
    Distribution: Supermarkets
    Introduction: January 1992
    Duration: Promotional
    Construction: Corrugated cardboard
    Goldstar Video ships its schoolhouse display with product, but a changing header card keeps the display up to date with the rotating stock.
    Sesame Street Videos
  • Display Rack for Audio-video Equipment

    Patent: Des. 326,377
    Issued: May 26, 1992
    Inventor: Richard Nagel, Rethorn-Ganderkesee, Federal Republic of Germany
    Assignee: Structura Raumund Lichtelemente Vertriebsgesellschaft mbH & Co. KG, Bremen, Federal Republic of Germany
    The ornamental design for a display rack for audio-video equipment, as shown.
    Display Rack for Audio-video Equipment
  • Display Package for Food Products or the Like

    Patent: Des. 326,409
    Issued: May 26, 1992
    Inventors: Michael B. Krueger; Robert J. Howard, both of Madison; Jay A. Eason, Middleton, all of Wis.
    Assignee: Oscar Mayer Foods Corp., Madison, Wis.
    The ornamental design for a display package for food products or the like, as shown.
    Display Package for Food Products or the Like
  • Small Package Display Apparatus

    Patent: 5,115,921
    Issued: May 26, 1992
    Inventor: Wayne C. Lavelle, Rohnert Park, Calif.
    Small Package Display Apparatus
  • Display System

    Patent: 5,115,623
    Issued: May 26, 1992
    Inventor: Erik Ahlberg, Stockholm, Sweden
    Assignee: ODC Exhibit Systems Ltd., British Columbia, Canada
    Display System
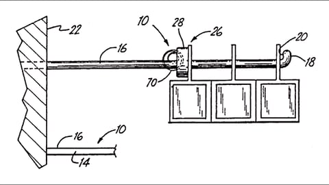
  • Self-feeding Display Peg

    Issued: May 19, 1992
    Inventor: Howard J. Fredrickson, Cannon Falls, Minn.
    Assignee: IMI Cornelius Inc., Anoka, Minn.
    A self-feeding display peg and peg bar have a pair of elongate, parallel supports extending outward from a mounting structure to a common nose. A sliding goods pusher is mounted on the supports, and a negator spring has a coil behind the pusher with a fixed end secured to the peg nose. The next step of the method includes pulling the pusher and goods forward with the negator spring being extended through the goods.
    Self-feeding Display Peg
  • Self-supporting Stacked Display and Dispenser Structure

    Patent: 5,111,939
    Issued: May 12, 1992
    Inventor: Christopher E. Schafer, Adair, Iowa
    Self-supporting Stacked Display and Dispenser Structure
  • At-shelf Lighted Display

    Patent: 5,111,606
    Issued: May 12, 1992
    Inventor: Randy B. Reynolds, Salt Lake City
    At-shelf Lighted Display
X
This ad will auto-close in 10 seconds