Skip to main content

Image

  • Isuzu Visual Exsightment

    Advertiser: American Isuzu Motors, City of Industry, CA
    Producer: Alcone Promotion, Irvine, CA
    Objective: To provide dealer showrooms with state-of-the-art, updatable, modular display units; to establish Isuzu's identity in multi-line dealers' showrooms, and to provide product information to consumers and salesmen.
    Isuzu Visual Exsightment
  • Newport Gas Pump Topper

    Advertiser: Lorillard Tobacco Co., New York
    Producer: Display Masters, Long Island City, NY
    Objective: To generate increased traffic at convenience stores and sales at the pump. The injection molded frame is held in place with double stick strips and features five- and six-color litho printed plastic panels that are weatherproof and interchangeable.
    Newport Gas Pump Topper
  • Cover Girl Professional Color Match Computer

    Advertiser: Noxell, Hunt Valley, MD
    Supplier: Intermark, New York
    Objective: To develop an interactive computer that would (1) educate consumers to their best color(s), (2) increase consumer confidence in making color cosmetic purchases, (3) improve Cover Girl's color authority, and (4) create multiple purchases.
    Cover Girl Professional Color Match Computer
  • Mounting Means For Advertising Display

    Patent: 4,951,909
    Issued: Aug. 28, 1990
    Inventors: Roger A. Russo, Congers, NY, and Harris Taylor, Piermont, NY
    Mounting Means For Advertising Display
  • Readily Openable Combination Shipping and Display Carton

    Patent: 4,946,042
    Issued: Aug. 7, 1990
    Inventors: Paul Ferreri, Allendale, NJ; Heinz Maurer, Ridgefield, NJ; Jennifer Kan, New York; Harry Allers, Oak Lawn, IL; and Michael Lackey, Geneva, IL
    Assignee: Lever Brothers Co., New York
    Readily Openable Combination Shipping and Display Carton
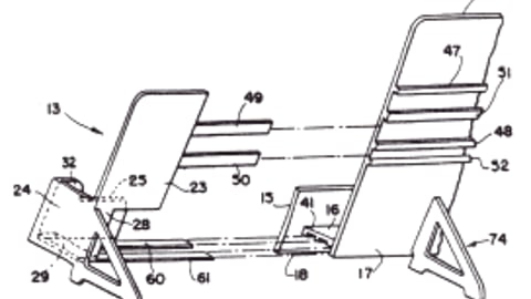
  • Collapsible Display Apparatus

    Patent: 4,938,344
    Issued: July 3, 1990
    Inventors: Patricia M. McHale, Kernersville, NC, and Jeffrey T. Weber, Winston-Salem, NC
    Assignee: Nabisco Brands, East Hanover, NJ
    Collapsible Display Apparatus
  • Preassembled Display Stand And Container Assembly

    Patent: 4,938,343
    Issued: July 3, 1990
    Inventor: William Willis, Lilburn, GA
    Preassembled Display Stand And Container Assembly
  • Literature Display Box

    Patent: 4,938,365
    Issued: July 3, 1990
    Inventors: Gerald A. Conway, Cleveland, OH, and Kin G. Cheng, Hong Kong
    Assignee: Gerald Conway & Co., Cleveland, OH
    Literature Display Box
X
This ad will auto-close in 10 seconds